مهندسی آتنا S.r.l.
مهندسی آتنا S.r.l.
محصولات
پمپ های گریز از مرکز افقی API OH1 برای حفظ گرما
  • پمپ های گریز از مرکز افقی API OH1 برای حفظ گرماپمپ های گریز از مرکز افقی API OH1 برای حفظ گرما

پمپ های گریز از مرکز افقی API OH1 برای حفظ گرما

Model:T2LP
پمپ های گریز از مرکز افقی API OH1 برای حفظ گرما برای حفظ گرما ، به روزرسانی نوآورانه از پمپ های شیمیایی ، توسط Teffiko ساخته شده است. پمپ های موجود در سری Teffiko دارای طرح های مبتکرانه هستند. ساختار ساندویچ توخالی آنها با انواع رسانه های عایق سازگار است ، امکان کنترل دقیق دما ، اطمینان از حمل و نقل کارآمد و پایدار را فراهم می کند و عملکرد عالی را در شرایط کار پیچیده نشان می دهد ، بنابراین عملکرد صاف فرآیندهای تولید شیمیایی را تسهیل می کند. ما به اصل قرار دادن مشتریان ، ارائه مشاوره انتخاب حرفه ای و خدمات سفارشی ، پیروی می کنیم و تمام تلاش خود را برای حفظ ثبات تجهیزات انجام می دهیم. قیمت های ما نیز بسیار رقابتی است و به شما امکان می دهد محصولات با کیفیت بالا را با هزینه مقرون به صرفه بدست آورید.

مجموعه Teffiko T2LP از پمپ های گریز از مرکز افقی API OH1 برای حفظ گرما برای عایق مناسب برای حمل و نقل رسانه ها با الزامات برای حفظ دمای خاص در نقطه انجماد (یا نقطه تبلور) ، از جمله رسانه های خنثی یا خورنده ، کسانی هستند که حاوی ذرات جامد ، رسانه های سمی ، و رسانه های قابل اشتعال و مواد منفجره هستند.

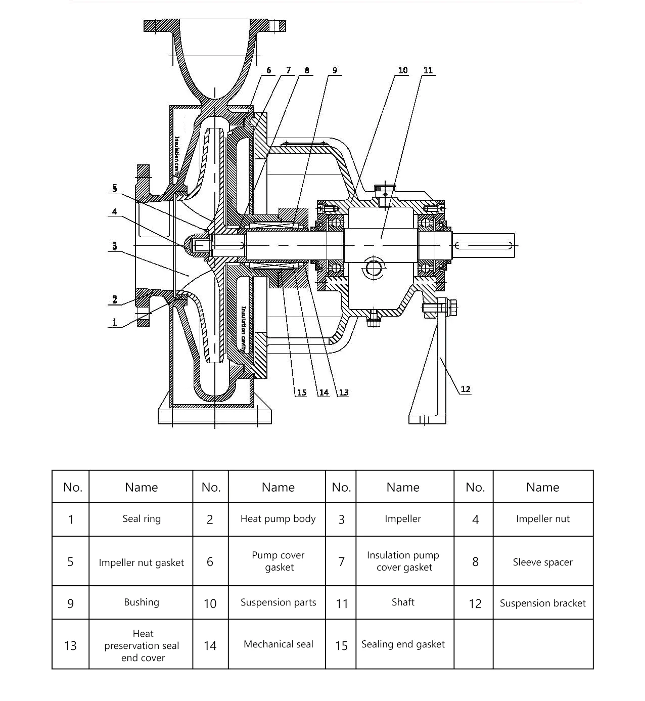
plate پمپ عایق بندی شده: برای حفظ دمای ثابت با پوشش پمپ عایق ترکیب می شود و از پا پشتیبانی می شود.

● پروانه: نوع بسته. نیروی محوری توسط سوراخ های تعادل یا ون های کمکی متعادل می شود و نیروی باقیمانده توسط یاتاقان ها تحمل می شود.

cover پوشش پمپ عایق بندی شده: یک محفظه مهر و موم استاندارد را با غده مهر و موم عایق تشکیل می دهد ، دمای ثابت را حفظ می کند و با مهر و موم های مختلف سازگار است.

● مهر و موم شافت: بسته به شرایط کار ، بسته بندی ، صورت یک و دوتایی و مهر و موم های مکانیکی پشت سر هم می توانند انتخاب شوند.

● یاتاقان ها: با روغن نازک روغن کاری می شوند. فنجان روغن سطح ثابت سطح روغن را کنترل می کند تا از روغن کاری خوب اطمینان حاصل شود.

● شافت: برای جلوگیری از خوردگی و گسترش عمر خدمات توسط آستین شافت محافظت می شود.

design طراحی پشتیبانی شده در عقب: برای جلوگیری از خوردگی و گسترش عمر خدمات ، توسط یک آستین شافت محافظت می شود.


نمودار پمپ گریز از مرکز T2LP

Api Oh1horizontal Centrifugal Pumps For Heat Preservation

مناطق کاربردی

strudge صنعت پتروشیمی: حمل و نقل روغن خام با دمای بالا ، گردش خون سنگین و عایق آسفالت.

industry صنعت شیمیایی خوب: حمل و نقل درجه حرارت مداوم گوگرد مذاب و رزین فنولیک مایع.

field میدان دارویی: حمل و نقل عایق آسپتیک API های حساس به گرما و رسانه های شربت مانند.

industry صنعت قند: برای حمل و نقل شربت ، خمیر قند و ملاس استفاده می شود.

● نیروگاه ها: برای حمل و نقل آب خوراک دیگ بخار ، آب میعانات ، و دفع سولفوریزاسیون و دوغاب های دنیتراسیون.

mill کارخانه های کاغذی: برای حمل و نقل خمیر با دمای بالا ، مایع پوشش و آب سفید.


شرایط کار

● سرعت جریان: 2 - 2000m³/h

● سر: حداکثر 160 متر

● فشار: ≤2.5 مگاپیکال

● دما: - 40 ℃ - 260

● سرعت چرخش: 1450rpm/min ، 2950rpm/min


تگ های داغ: پمپ های گریز از مرکز افقی API OH1 برای حفظ گرما ، پمپ حرارتی Teffiko ، مشخصات API OH1
ارسال استعلام
اطلاعات تماس
برای پرس و جو در مورد پمپ های گریز از مرکز API ، پمپ های پیچ ، پمپ پیچ دوقلوی مکش یا لیست قیمت ، لطفاً ایمیل خود را به ما واگذار کنید و ما طی 24 ساعت در تماس خواهیم بود.
  • BACK TO ATHENA GROUP
  • X
    ما از کوکی ها استفاده می کنیم تا تجربه مرور بهتری به شما ارائه دهیم، ترافیک سایت را تجزیه و تحلیل کنیم و محتوا را شخصی سازی کنیم. با استفاده از این سایت، شما با استفاده ما از کوکی ها موافقت می کنید. سیاست حفظ حریم خصوصی
    رد کردن قبول کنید